9.2 -
1
2
3
4
5
6
7
8
9
10
11
12
13
14
15
16
17
18
19
20
21
22
23
24
25
26
27
28
29
30
31
32
33
34
35
36
37
38
39
 Catálogo recambios
Importante
Las referencias en negrilla de este capìtulo indican que los componentes en cuestión no aparecen en las imágenes que acompa­ñan al texto sino que se encuentran en la tabla de despiece.
Apertura semicárter
Con un par de destornilladores quitar el anillo elástico de seguro (29) del eje reenvìo distribución (30) en el semicárter lado em­brague.
Nota
Al quitar el anillo elástico, prestar atención de no dañar la superficie del eje.
 
Destornillar los tornillos de unión de los semicárter, lado cadena.
Destornillar los dos tornillos (12), en el lado embrague, en correspondencia del alojamiento del cilindro vertical.
Usar nuevamente la tapa alternador o una tapa de servicio con el extractor 88713.1749 montado. Fijarlo con algunos tornillos originales al semicárter y, accionando el perno central de la herramienta, iniciar la separación.
Golpear con un martillo de plástico el eje secundario del cambio hasta separar los semicárter.
Nota
Prestar atención a las arandelas de espesor que se encuentran en los ejes y en el tambor selector.
Quitar los ejes cambio y el tambor selección marchas de los semicárter, como se describe en la Secc. 9 - 7.2, Desmontaje grupo cambio.
Extraer el cigüeñal (L) utilizando un martillo plástico y prestando atención a las arandelas de espesor.
Quitar el eje reenvìo distribución (30).
Destornillar los tornillos (34), quitar los tubos (33) y recuperar los anillos tóricos (32).
Control semicárter
Controlar cuidadosamente los semicárter del motor.
Controlar sobre una superficie de referencia que las superficies de los semicárter estén perfectamente planas.
Controlar que los cojinetes (1) y (18) y los casquillos (2) y (17) se encuentren en perfectas condiciones. Los cojinetes de cigüeñal se sustituyen por pares (consultar el procedimiento en el párrafo siguiente “Cojinetes del cigüeñal”).
Nota
Se recomienda cuando se revisa un motor, sustituir todos los cojinetes de los semicárter.
Una vez sustituidos los cojinetes (28) y (9) de soporte de los ejes del cambio, bloquearlos en el semicárter con los separadores (21) y la plaqueta de seguro (10).
Cada vez que se revisa el motor es aconsejable sustituir también la junta de retén (8) exterior del cojinete (9).
Sustituir los cojinetes (7) y (23) de extremidad de los árboles del cambio y los cojinetes (4) y (15) de soporte del árbol reenvìo distribución.
Prestar atención a la arandela de espesor (6) colocada entre el cojinete (7) del extremo del eje primario del cambio y el semicárter, lado cadena.
En correspondencia del cojinete de rodillos (15) está instalado, en el lado exterior un anillo de estanqueidad (14) que se debe sustituir en cada revisión.
Controlar que los conductos de lubricación no presenten estrechamientos u obstrucciones. Controlar las condiciones de los cas­quillos (22) de centrado. En caso de evidentes deformaciones o juego de acoplamiento excesivo con los alojamientos, proceder a la extracción utilizando herramientas adecuadas. Si la operación de extracción de los alojamientos en el cárter de los casquillos (22) de centrado resulta dificultosa, se recomienda utilizar un macho izquierdo con el cual forzar en salida los casquillos.
Importante
Sustituir siempre los casquillos (22) extraìdos con este procedimiento.
Quitar el cojinete (23), el anillo Seeger (5) y el cojinete de rodillos (4).
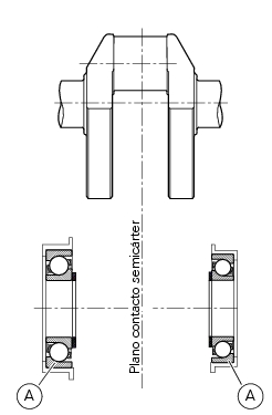
Cojinetes del cigüeñal
Tienen pistas desfasadas entre sì. Las cargas se transmiten de una ranura a otra a través de las bolas a lo largo de rectas que forman un determinado ángulo con el eje del cojinete. Los cojinetes oblicuos de bolas son adecuados para soportar cargas com­binadas (radio-axiales).
Este tipo de cojinete puede soportar cargas axiales en un solo sentido. Bajo la acción de una carga radial se genera en el cojinete una fuerza axial que debe ser equilibrada por otra carga en sentido opuesto: por eso generalmente se montan opuestos entre sì.
Nota
Los cojinetes de cigüeñal suministrados pueden ser cojinetes con casquillo (A) o cojinetes con brida (B) con el casquillo integrado en el anillo exterior del cojinete.
 
Para sustituir los cojinetes:
-
-
-
-
Cojinetes con casquillo
Importante
En caso de motores muy desgastados, puede suceder que los casquillos porta-cojinete ya no presenten la correcta interferencia de montaje con los semicárter.
 
Luego de haber extraìdo el casquillo, controlar que la interferencia entre el cárter y el casquillo, con cojinete montado, no sea inferior a 0,03 mm, en caso contrario, sustituir los semicárter.
Nota
Montar los cojinetes (1) y (18) orientándolos de manera que el lado con las “inscripciones” (C) se encuentre dirigido hacia los casquillos (2) y (17).
Cojinetes con bridas
Importante
En caso de motores muy desgastados, puede suceder que los anillos externos del cojinete ya no presenten la correcta interfe­rencia de montaje con los semicárter.
 
Controlar que la interferencia entre el cárter y los cojinetes (1) y (18) montados no sea inferior a 0,03 mm; caso contrario, sustituir los semicárter.
Importante
Luego de haber instalado los cojinetes de cigüeñal nuevos, proceder con el calibre de espesores en el cigüeñal, como se describe en los párrafos “Montaje espesores ejes” y “Cierre de los semicárter” de esta sección.
Montaje semicárter
Los semicárter deben estar ìntegros y limpios. Las superficies de acoplamiento deben ser perfectamente planas y no presentar rebabas.
Revisión semicárter lado embrague
En el lado interior del semicárter deben estar presentes:
-
el cojinete (23) de extremidad del eje secundario: aplicar grasa en las agujas del cojinete. Introducir a tope el cojinete y el anillo interno (A) que se desmontó anteriormente. Aplicar grasa en el anillo interno;
-
el cojinete (28) de soporte del eje primario, fijado con los tornillos (20) y el separador de sujeción (21): aplicar compuesto para roscas recomendado a los tornillos (20) y ajustarlos al par de apriete de 10 Nm (Mìn. 9 - Máx 11 Nm) (Secc. 3 - 3, Pares de apriete motor);
-
El cojinete de rodillos (15) con Seeger de bloqueo (16), en correspondencia del eje reenvìo distribución.
Introducir el Seeger (5) en el semicárter, instalándolo en el especìfico alojamiento sobre el cojinete (4).
 
Montaje semicárter lado alternador
En el lado interior del semicárter deben estar presentes:
el cojinete (9) de doble corona de bolas de soporte del eje mando horquillas. Aplicar compuesto para roscas en los tornillos (11). Montar la plaqueta de seguro (10) en el cojinete eje secundario cambio (9) introduciendo los tornillos (11) a tope en el semicárter, lado cadena.
Nota
La plaqueta de seguro del cojinete debe estar orientada con el avellanado de los orificios dirigidos hacia arriba.
 
Ajustar los tornillos (11) al par de apriete de 10 Nm (Mìn. 9 - Máx 11 Nm) (Secc. 3 - 3, Pares de apriete motor).
El cojinete (7) de extremo del eje primario cambio con separador interior (6), orientándolo de manera que el lado cerrado de la jaula, de material plástico (M) esté dirigido hacia el semicárter. aplicar grasa en las agujas del cojinete. Introducir a tope el cojinete y el anillo interno (A) que se desmontó anteriormente. Aplicar grasa en el anillo interno.
El cojinete del cigüeñal (1) con relativo casquillo (2) (si está presente).
El cojinete (4) con Seeger de bloqueo (5), en correspondencia del eje reenvìo distribución.
Introducir el Seeger (5) en el semicárter, instalándolo en el especìfico alojamiento sobre el cojinete (4).
Nota
Ningún cojinete tiene un lado de montaje en especial, salvo los de cigüeñal: se recomienda orientarlos de manera que el lado con las “inscripciones” quede hacia arriba.
 
Montar el filtro de red, como se describe en la Secc. 4 - 3, Cambio aceite motor y cartucho filtro.
Importante
Para no dañar el filtro, utilizar solamente las manos para la introducción, evitando el uso de martillo u otras herramientas metálicas.
 
Sobre el alojamiento del filtro de red, está montado un tapón (19) de cierre del conducto de lubricación. En caso de sustitución, debe montarse nuevamente aplicando bloqueador recomendado en la rosca.
Bloquear el tapón al par de apriete de 24 Nm (Mìn. 21 - Máx 27 Nm) (Secc. 3 - 3, Pares de apriete motor).
Montaje espesores ejes
Antes de cerrar los semicárter es necesario calcular los espesores que determinan el juego axial del cigüeñal y de los ejes del grupo cambio.
Realizar el cálculo de los espesores siguiendo los procedimientos que se describen a continuación.
Espesores cigüeñal
Luego de haber instalado los cojinetes del cigüeñal nuevos (con casquillo (A) o con bridas (B)), proceder de la siguiente manera para determinar la cota “SA” total de los espesores:
-
-
Agregar una precarga de 0,30 mm, para permitir que los cojinetes de tipo axial del cigüeñal se asienten correctamente en sus alojamientos, es decir, el anillo interior que se introduce en el anillo exterior.
De esta manera se obtiene:
SA=LA1+LA2+0,30-LA.
Para calcular un solo espesor es necesario saber que:
SA=SA1+SA2
donde “SA1” y “SA2” representan los espesores de los semicárter lado embrague 1 y lado cadena 2.
Considerando la alineación del cigüeñal se obtiene:
SA1=LA1+0,15-LA/2;
y, por último, el segundo espesor: SA2=SA-SA1.
Se ilustra, además, un procedimiento práctico para determinar correctamente los espesores que se deben montar en el cigüeñal.
Introducir a cada lado del cigüeñal un espesor mìnimo (1,90 mm) para evitar el contacto del brazo del cigüeñal con el bloque mo­tor.
Instalar el cigüeñal en el semicárter y cerrar el bloque motor.
Montar cuatro tornillos M8 en los alojamientos indicados en la figura y bloquearlos al par de apriete de 19 Nm (Mìn. 17 Nm - Máx. 21 Nm) (Secc. 3 - 3, Pares de apriete motor).
Colocar un comparador (C) con base magnética utilizando una placa de apoyo fijada al cárter motor.
Apoyar el palpador en el extremo del cigüeñal y poner en cero el comparador en esta posición.
Introducir una leva (D) entre el cárter y el brazo del cigüeñal y empujar el cigüeñal hacia el instrumento.
Leer en el comparador el juego total y agregar el valor de la precarga (0,30 mm) y de los espesores utilizados (1,90x2=3,8 mm).
Dividir por dos la cota calculada para obtener el valor del espesor que se debe colocar a cada lado del cigüeñal.
Nota
Al cerrar los semicárter; el cigüeñal tiene que poder girar con interferencia en los cojinetes nuevos.
Espesores ejes cambio
Como recambio se suministran los siguientes espesores.
 
Lado
embrague (mm)
Espesores tambor cambio
Como recambio se suministran los siguientes espesores.
 
Lado
embrague (mm)
Cierre de los semicárter
Si se ha extraìdo, aplicar compuesto para roscas en el tornillo (36), introducir el tornillo con la arandela (37) en el semicárter y ajustar el tornillo al par de apriete de 8 Nm (Mìn. 7 Nm - Máx. 9 Nm) (Secc. 3 - 3, Pares de apriete motor).
Si se ha extraìdo, aplicar compuesto para roscas en la rosca de la clavija (35) y ajustarla al par de apriete de 20 Nm (Mìn. 18 Nm - Máx. 22 Nm) (Secc. 3 - 3, Pares de apriete motor).
Si se ha extraìdo, aplicar compuesto para roscas en el tapón (19) y ajustarlo al par de apriete de 24 Nm (Mìn. 21 Nm - Máx. 27 Nm) (Secc. 3 - 3, Pares de apriete motor).
Instalar el anillo OR (32) en el especìfico alojamiento (A) del semicárter. Montar el tubo (33) en el semicárter, introduciendo a tope la extremidad (B) del tubo en el anillo OR. Durante la introducción, alinear el orificio (L) del tubo con el orificio roscado (M) del semicárter. Aplicar compuesto para roscas en el tornillo (34) e introducirlo en el orificio roscado (M). Ajustar el tornillo al par de apriete de 8 Nm (Mìn. 7 - Máx 9 Nm) (Secc. 3 - 3, Pares de apriete motor).
Instalar el eje reenvìo distribución (30) en el cojinete de rodillos (4) del semicárter lado embrague.
Para no dañar el anillo de estanqueidad (14) en correspondencia del eje reenvìo distribución, se recomienda proteger el extremo roscado del eje con el capuchón de protección cód. 88700.5749. Humedecer el anillo de estanqueidad (14) con alcohol e instalarlo en el árbol reenvìo distribución, llevandolo a tope sobre el cojinete de rodillos (4).
Montar el anillo elástico de seguro (29) en el eje y quitar el capuchón de protección.
Nota
En caso de montaje de componentes usados, antes de introducir el grupo cambio en el semicárter asegurarse que las pistas internas (C) de los cojinetes de extremidad de los árboles del cambio se encuentren instaladas en el relativo cojinete y que no hayan quedado montadas en el respectivo árbol.
 
Acoplar los ejes cambio y montarlos en el semicárter lado embrague, interponiendo los espesores.
Nota
La tabla y la lista de los componentes del grupo cambio se indican en la Secc. 9 - 7.2, Montaje ejes cambio.
 
Introducir las horquillas 1a- 4a y 2a- 3a velocidad (D) en los respectivos canales de deslizamiento de los engranajes conducidos del eje secundario e introducir en las horquillas el perno (G): las dos horquillas deben ser montadas con el número que indica la mar­cha dirigido hacia arriba.
Nota
Las dos horquillas son iguales.
Introducir la horquilla 5a- 6a velocidad (E) en el engranaje conducido del eje primario y el perno (G) en la horquilla (E): la horquilla debe ser montada con el número que indica la marcha dirigido hacia el semicárter.
Colocar el perno (G) de las horquillas (D) en el semicárter. Manteniendo el trinquete leva cambio, colocar el tambor cambio (F) en el semicárter.
Colocar el perno (G) de la horquilla (E) en el semicárter.
Instalar el cigüeñal provisto de los espesores calculados en el cojinete del semicárter: los espesores (R) del cigüeñal deben ser colocados con el achaflanado dirigido hacia el cigüeñal. Colocar las bielas (H) en correspondencia de los respectivos alojamientos de los cilindros.
Importante
Asegurarse que las bielas (H) estén correctamente colocadas en los respectivos alojamientos de los cilindros. Una colocación errada provoca inevitablemente la reapertura de los semicárter.
Controlar si están instalados los dos casquillos de centrado (22).
Luego de haberlo engrasado para mantenerlo en su alojamiento, colocar el anillo tórico (31).
Aplicar un cordón uniforme y continuo de pasta selladora DUCATI en la superficie de acoplamiento de los semicárter, contornean­do todos los orificios, como ilustra la figura.
Acoplar los semicárter (3) y (13); si es necesario, se puede golpear con un martillo de goma la zona de los ejes.
Preparar los tornillos de fijación lubricándolos con grasa recomendada, e introducirlos en los semicárter, prestando atención a las diferentes longitudes, comenzando por el de mayor diámetro (M8) y siguiendo el orden indicado.
 
Ajustar todos los tornillos al par de apriete que se indica a continuación (Secc.3 - 3, Pares de apriete motor):
-
-
los tornillos (24) y (27) al par de apriete de 10 Nm (Mìn. 9 - Máx 11 Nm).
 
Controlar que el cigüeñal gire con cierta interferencia en los cojinetes de cigüeñal (el cigüeñal debe tener una precarga de 0,20÷0,30 mm) y que todos los órganos montados giren y se desplacen correctamente.
Instalar la tapa de acceso al filtro de red (Secc. 4 - 3, Cambio aceite motor y cartucho filtro).
Instalar el filtro de cartucho (Secc. 4 - 3, Cambio aceite motor y cartucho filtro).
Montar el anillo de estanqueidad (8) en el eje secundario del cambio con el lado (L) dirigido hacia el lado motor.
Instalar el casquillo lubricado de la herramienta cód. 88713.2060 en el eje secundario y colocar en su alojamiento el anillo (8) nue­vo.
Con el punzón de la herramienta, colocar a tope el anillo de estanqueidad en el cojinete del semicárter.
 
Montar nuevamente el alternador com­pleto y la tapa lado alternador
 
1