1
14 -
1
2
3
4
5
6
7
8
9
10
11
12
13
14
15
16
17
18
 Catalogo ricambi
 Importante
I riferimenti in grassetto all'interno di questo capitolo indicano che i particolari richiamati non sono presenti nelle immagini, ma devono essere ricercati nella presente tavola esplosa.
Ispezione trasmissione secondaria
Per verificare l'usura della trasmissione secondaria è necessario procedere al controllo visivo del pignone (14) e della corona (18). Se il profilo dei denti risulta come in figura (linea tratteggiata) procedere alla sostituzione.
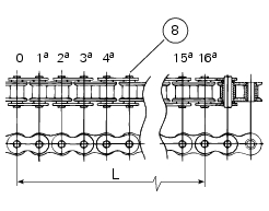
Nel caso della catena (8) occorre misurare 16 passi mantenendola ben tesa.
Se la quota (L) riscontrata risulta superiore a 256,5 mm, sostituire la catena.
 Importante
La sostituzione della corona (18) deve avvenire unitamente al pignone motore (14) e alla catena (8).
Smontaggio pignone catena
Rimuovere il coperchio catena (10) svitando le viti (11).
Allentare la catena (Sez. 4 - 3, Regolazione tensione catena).
Eseguire lo smontaggio della catena utilizzando l'apposito attrezzo cod. 88713.1344.
L'attrezzo è composto da un contenitore (A), da un punzone (B), da un corpo (C) e da due chiavi (D) ed (E).
Sistemare la maglia della catena da aprire all'interno del contenitore (A).
Inserire in punzone (B) nel corpo (C) e svitare manualmente il bullone in modo che il punzone non sporga.
Inserire il contenitore (A) che contiene la catena nel corpo (C).
Girare manualmente il bullone (F) del corpo (C) in modo che il punzone (B) venga a contatto con il perno, fare attenzione che questi siano in asse.
Inserire nella parte esagonale del corpo (C) la chiave esagonale (D) e nel bullone la chiave (E).
Girare in senso orario il bullone (F) per ottenere l'espulsione del perno.
Rimuovere la catena.
Inserire una marcia bassa e svitare il dado (12).
Rimuovere il dado (12) e la rosetta di sicurezza (13) sul pignone.
Sfilare il pignone motore (14) dall'albero secondario cambio.
Sfilare dall'albero secondario, il distanziale (15) con guarnizione OR (16) e la rosetta (17).
 Importante
La guarnizione OR (16) va sempre sostituita dopo ogni smontaggio.
Rimontaggio pignone catena
Rimontare l'anello (17) (Sez. 9 -  9.2, Chiusura semicarter).
Ingrassare la guarnizione OR di tenuta (16) e installarla sul distanziale (15) del pignone catena.
Introdurre il distanziale, dal lato con guarnizione, sull'albero secondario e portarlo in battuta sull'anello interno del cuscinetto.
Prima del montaggio, verificare che sull'albero secondario sia presente il distanziale (15).
Verificare che la calettatura dell'albero secondario e quella del pignone risultino in perfette condizioni.
Montare il pignone motore (14) sull'albero secondario cambio orientandolo come indicato. Installare la rosetta di sicurezza (13).
Bloccare il dado (12) alla coppia di 186 Nm ±5% (Sez. 3 - 3, Coppie di serraggio mototelaio).
Ribadire la rosetta (13).
Montare la catena e richiuderla utilizzando l'attrezzo cod. 88713.1344, usato per aprire la catena.
L'attrezzo è composto da un contenitore (A), da un punzone (B), da un corpo (C), da due chiavi (D) ed (E) e un contenitore piastrino (F). Collegare le due estremità della catena con la maglia esterna e inserire manualmente la piastrina sui perni.
 Attenzione
Lubrificare abbondantemente i perni ed evitate il più possibile di toccarli con le mani.
 
Posizionare il contenitore (A) in corrispondenza della maglia esterna.
Montare il punzone (B) sul corpo (C) e il contenitore piastrina (F).
Inserire il corpo (C) nel contenitore (A) che trattiene la catena in posizione.
Girare a mano il bullone (G) fino a quando il contenitore piastrina (F) sia in appoggio alla piastrina stessa.
Con l'ausilio delle chiavi (D) e (E) girare il bullone (G) in senso orario fino a quando il perno della catena viene in contatto con il contenitore (F).
Togliere dall'attrezzo il contenitore (A).
Girare il bullone (G) a mano fino a quando il punzone (B) sia a contatto con il perno da ribadire e controllare che questi siano in asse.
Utilizzando le chiavi (D) e (E) girare il bullone in senso orario fino a quando il punzone (B) sia in appoggio sulla piastrina della catena.
Al fine di completare la ribaditura, spostarsi con tutto l'attrezzo nel secondo perno e ripetere le procedure citate.
 Attenzione
Controllare scrupolosamente i due perni ribaditi: la figura riporta il perno ribadito correttamente.
 
Eseguire il tensionamento della catena (Sez. 4 - 3, Regolazione tensione catena).
Applicare frenafiletti prescritto alle viti (11).
Posizionare il coperchio pignone (10) serrando le viti (11) alla coppia di 6 Nm ±10% (Sez. 3 - 3, Coppie di serraggio mototelaio).
Sostituzione corona
Bloccare la rotazione del perno ruota.
Rimuovere il fermaglio (1).
Allentare con chiave a bussola il dado di bloccaggio (2).
Svitare completamente il dado (2) e rimuovere la rosetta (3) e la flangia (5) completa di corona (18).
Recuperare il distanziale (9).
Spingere con un mazzuolo la flangia (5) con parastrappi (6) fuori dalla corona (18).
Rimontaggio corona
Verificare la condizione delle boccole parastrappi (6) ed eventualmente sostiturle rimuovendole dalla flangia.
Per il rimontaggio eseguire le operazioni in modo inverso.
Applicare grasso prescritto sul diametro esterno della flangia porta corona (5).
Posizionare la flangia portacorona (5) sulla corona (18), inserendola sui perni parastrappo (6).
Applicare frenafiletti prescritto sul filetto dei dadi (4).
Impuntare i dadi sulla sporgenza filettata dei perni parastrappo (6).
Serrare i dadi (4) alla coppia di 44 Nm ± 10 % (Sez. 3 - 3, Coppie di serraggio mototelaio), rispettando una sequenza a croce.
 
Eseguire una verifica dell'usura seguendo le istruzioni di inizio sezione.
Per il rimontaggio del dado (2) seguire le specifiche riportate per il dado di bloccaggio ruota, alla Sez. 7 - 2, Rimontaggio ruota posteriore.
 
 
Lavaggio della catena
Il corretto lavaggio della catena con OR deve essere effettuato con petrolio, nafta, oppure olio di paraffina.
È da evitare assolutamente l'utilizzo di benzina, trielina e di solventi di ogni tipo, che potrebbero danneggiare gli OR in gomma. Per questa ragione sono da evitare anche i prodotti spray non specifici per catene OR.
Lubrificazione della catena
Nella catena con OR la lubrificazione antiusura è assicurata dal lubrificante originale sigillato, nella zona di lavoro perno-bussola, dagli stessi OR. È tuttavia indispensabile provvedere ad una lubrificazione periodica a scopo protettivo sia delle parti metalliche della catena che degli OR.
La lubrificazione di questi ultimi ha lo scopo di mantenerli sufficentemente elastici per garantire la massima tenuta.
La lubrificazione a scopo protettivo si ottiene applicando, con un semplice pennello, sull'intera lunghezza della catena, sia all'interno sia all'esterno un velo di olio da cambio ad alta densità (Sez. 3 - 2, Rifornimenti e lubrificanti).