3.3 -
1
2
3
4
5
6
7
8
9
10
11
12
13
14
15
16
17
18
 Ersatzteilkatalog
Wichtig
Die fett gedruckten Bezugsnummern dieses Abschnitts weisen auf Bestandteile hin, die nicht in den neben dem Text stehenden Abbildungen, sondern in der vorliegenden Explosionszeichnung dargestellt werden.
Ausbau der Kühlflüssigkeitspumpe
Hinweis
Zum besseren Verständnis wird ein vom Rahmen abgenommener Motor dargestellt.
 
Die Schrauben (13) und (18) für die Befestigung des Wasserpumpendeckels (12) am Lichtmaschinendeckel (16) lösen und ent­fernen.
Die Wasserpumpe (12) entfernen.
Eventuelle Verkrustungen der Kühlflüssigkeit aus dem Aufnahmebereich der Wasserpumpe entfernen. Den Verschleißzustand der Lager überprüfen, dazu die Welle des Laufrads (10) drehen; bei übermäßigem Spiel müssen sie wie folgt ausgewechselt wer­den.
Den Drahtsprengring (3) an der Laufradwelle und die darunter angeordnete Unterlegscheibe (4) entfernen.
Das Laufrad (10) mit Dichtring (9) von der Außenseite abziehen.
Die Keramik-Unterlegscheibe (A) und den Dichtring (B) an der Innenseite aufnehmen.
Die Schrauben (1) lösen und mit Unterlegscheibe (2) abnehmen.
An der Laufradseite mit einem geeigneten Stopfen auf den Innenring des Endlagers (5) drücken, bis der Deckel sich löst.
In der gleiche Weise zur Abnahme des anderen Lagers (6) verfahren.
An der Innenseite des Deckels das Gegenstück (8) der mechanischen Abdichtung (9) entfernen.
Das innere Distanzstück (7) entfernen.
Den Zustand der Komponenten der mechanischen Abdichtung überprüfen: es dürfen keine Risse, Verformungen oder ein über­mäßiger Verschleiß erkennbar sein. Bei schweren Beschädigungen müssen beide Komponenten ausgetauscht werden.
Erneute Montage der Wasserpumpe
Den Sitz im Deckel, die wieder zu verwendenden Komponenten und die Laufradwelle sorgfältig reinigen und mit Motoröl schmie­ren, dann in der folgenden Weise montieren.
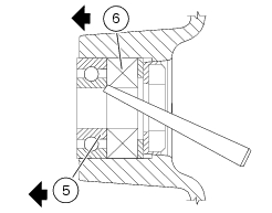
Mit dem Stopfen 88713.0869 eine neue mechanische Abdichtung (9) an der Laufradwelle montieren.
Von der Innenseite des Deckels her das innere Distanzstück (7), mit der scharfkantigen Seite (A) nach außen gerichtet, einsetzen.
Mit einem geeigneten Stopfen, der nur am Außenring arbeitet, das Lager (6) mit der abgeschirmten Seite (B) zum Deckel gerich­tet, am Distanzstück (7) auf Anschlag bringen.
Das andere Lager (5) montieren und am zuvor montierten auf Anschlag bringen.
Die vorgeschriebene Schraubensicherung auftragen.
Die beiden Schrauben (1) mit Unterlegscheibe (2) montieren und mit einem Anzugsmoment von 10 Nm (min. 9 Nm - max. 11 Nm) (Abschn. 3 - 3, Anzugsmomente - Motor) anziehen.
Den Deckel umdrehen und mit dem Stopfen 88713.0870 das Gegenstück (8), der Abbildung gemäß ausgerichtet, am Distanz­stück (7) auf Anschlag bringen.
Den Dichtring (B) und die Unterlegscheibe aus Keramik (A) einfügen.
Die Welle des Lüfterrads (10) mit der mechanischen Dichtung (9) einfügen und den Deckel wieder umdrehen.
Das Distanzstück (4) so wie dargestellt ausrichten und einfügen, dann alles mit dem Drahtsprengring (3) feststellen.
Das Laufrad (10) drehen und dabei überprüfen, dass es sich, ohne anormale Reibungen, frei drehen lässt.
Die Passfläche am Pumpendeckel und am Lichtmaschinendeckel sorgfältig reinigen.
Den Wasserpumpendeckel (12) der Abbildung gemäß mit Flüssigdichtung umranden.
Die Zentrierstift (11) einfügen und den Deckel (12) am Lichtmaschinendeckel anordnen.
Die Befestigungsschrauben (13) und (18) des Deckels ansetzen.
Die Schrauben (13) mit einem Anzugsmoment von 10 Nm (min. 9 Nm - max. 11 Nm) anziehen (Abschn. 3 - 3, Anzugsmomente - Motor).
Die Schraube (18) mit einem Anzugsmoment von 13,5 Nm (min. 12,5 Nm - max. 14,5 Nm) anziehen (Abschn. 3 - 3, Anzugsmo­mente - Motor).
Die während dem beschriebenen Arbeitsverfahren abgenommenen Komponenten erneut montieren.
 
Leitungen der Kühlanlage am Wasser­pumpendeckel montieren
 
1